联系我们
- 电话:0512-87886603
- 邮箱:109457180@qq.com
- Q Q:109457180
- 地址:昆山市虹桥路318号
水泵能液体漏水的原因
人气:1042 评论:0 日期:2016/9/3 9:48:21 标签:全部
密封环
从叶轮流出的高压液体通过旋转的叶轮与固定的泵壳之间的间隙又回到叶轮的吸入口,称为内泄漏,如图1—17所示。为了减少内泄漏,保护泵壳,在与叶轮入口处相对应的壳体上装有可拆换的密封环。
密封环的结构形式有三种,如图1—18所示。图1—18 (a)为平环式,结构简单,制造方便。但密封效果差;图l—18 (b)为直角式的密封环,液体泄漏时通过一个90°的通道,密封效果比平环式好,应用广泛;
密封环磨损后,使径向间隙增大,泵的排液量减少,效率降低,当密封间隙超过规定值时应及时更换。
密封环应采用耐磨材料制造,常用的材料有铸铁、青铜等。
密封环的形式
轴向密封装置
从叶轮流出的高压液体,经过叶轮背面,沿着泵轴和泵壳的间隙流向泵外,称为外泄漏。在旋转的泵轴和静止的泵壳之间的密封装置称为轴封装置。它可以防止和减少外泄漏,提高泵的效率,同时还可以防止空气吸入泵内,保证泵的正常运行。特别在输送易燃、易爆和有毒液体时,轴封装置的密封可靠性是保证离心泵安全运行的重要条件。常用的轴封装置有填料密封和机械密封两种。
填料密封
填料密封指依靠填料和轴(轴套)的外圆表面接触来实现密封的装置。它由填料箱(又称填料函)、填料、液封环、填料压盖和双头螺栓等组成,如图1—19所示。液封环安装时必须对准填料函上的入液口,通过液封管与泵的出液管相通,引入压力液体形成液封,并冷却润滑填料。填料密封是通过填料压盖压紧填料,使填料发生变形,并和轴(或轴套)的外圆表面接触,防止液体外流和空气吸入泵内。填料密封的密封性可用调节填料压盖的松紧程度加以控制。填料压盖过紧,密封性好,但使轴和填料间的摩擦增大,加快了轴的磨损,增加了功率消耗,严重时造成发热、冒烟,甚至将填料烧毁。填料压盖过松,密封性差,泄漏量增加,这是不允许的。合理的松紧度应该使液体从填料函中滴状漏出,每分钟控制在15—20滴左右。对有毒、易燃、腐蚀及贵中叶体,由于要求泄漏量较小或不准泄漏,可以通过另一台泵将清水或其他无害液体打到液封环中进行密封,以保证有害液体不漏出泵外。也可采用机械密封装置。
低压离心泵输送温度小于40℃时,常用石墨填料或黄油渗透的棉织填料;输送温度小于250℃、压力小于1.8MPa的液体时,用石墨浸透的石棉填料;输送温度小于400℃、允许工作压力为2.5MPa的石油产品时,用金属箔包石棉芯子填料。
机械密封
填料密封的密封性能差,不适用于高温、高压、高转速、强腐蚀等恶劣的工作条件。机械密封装置具有密封性能好,尺寸紧凑,使用寿命长,功率消耗小等优点,近年来在化工生产中得到了广泛的使用。
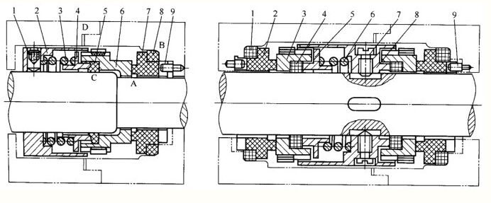
(1)结构及工作原理依靠静环与动环的端面相互贴合,并作相对转动而构成的密封装置,称为机械密封,又称端面密封。其结构如图1—20所示。紧定螺钉1,将弹簧座2固定在轴上,弹簧座2、弹簧3、推环4、动环6和动环密封圈5均随轴转动,6静环7、静环密封圈8装在压盖上,并由防转销9固定,静止不动。动环、静环、动环密封圈和弹簧是机械密封的主要元件。而动环随轴转动并与静环紧密贴合是保证机械密封达到良好效果的关键。l机械密封中一般有四个可能泄漏点A、B、C、D和E。密封点A在动环与静环的接触面上,它主要靠泵内液体压力及弹簧力将动环压贴在静环上,防止A点泄漏;但两环的接触面A上总会有少量液体泄漏,它可以形成液膜,一方面可以阻止泄漏,另一方面又可起润滑作用;为保证两环的端面贴合良好,两端面必须平直光洁。密封点B在静环与静环座之间,属于静密封点;用有弹性的O形(或V形)密封圈压于静环和静环座之间,靠弹簧力使弹性密封圈变形而密封。密封点C在动环与轴之间,此处也属静密封,考虑到动环可以沿轴向窜动,可采用具有弹性和自紧性的V形密封圈来密封。密封点D在静环座与壳体之间,也是静密封,可用密封圈或垫片作为密封元件。密封E点有轴套,在轴套与轴之间,也是静密封,可用密封圈或垫片作为密封元件。
(2)结构形式
机械密封的结构形式很多,主要是根据摩擦副的对数、弹簧、介质和端面上作用的比压情况以及介质的泄漏方向等因素来划分。
①内装式与外装式
内装式是弹簧置于被密封介质之内(见图1—20、图1—21),外装式则是弹簧置于被密封介质的外部,如图1-22所示。
图1—20非平衡型单端面机械密封
1一紧定螺钉;2一弹簧座;3弹簧;4推环;
内装式可使泵轴长度减小,但弹簧直接与介质接触,外装式正好相反。在常用的外装式结构中,动环与静环接触端面上所受介质作用·力和弹簧力的方向相反,当介质压力有波动或升高时,若弹簧力余量不大,就会出现密封不稳定;而
当介质压力降低时,又因弹簧力不变,使端面上受力过大,特别是在低压启动时,由于摩擦副尚未形成液膜,端面上受力过大容易磨伤密封面。所以外装式适用于介质易结晶、有腐蚀性、较黏稠和压力较低的场合。
内装式的端面比压随介质压力的升高而升高,密封可靠,应用较广。
评论
-
管理员刚刚
暂无任何留言!









苏公网安备32058302005480号